Home | Site Map | Contact Information

![]() |
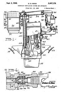
A crankcase ventilation
valve (5) is mounted on the intake manifold and
connected by a tube (10) to the side valve cover (2).
Clean air is
drawn into the oil filler tube through a hose from the air cleaner
crossover pipe. Air flows down the oil filler tube to the engine
crankcase. Any vapors in the crankcase are mixed with the air and
carried out the tube (10) at the
side cover (2), through the crankcase ventilation valve (5),
and into the
intake manifold where they are combined with the incoming combustion
mixture and then burned in the cylinders. The ventilation valve (5) regulates the system air flow dependent on intake manifold vacuum. High vacuum, such as found at idle, closes the valve reducing the flow volume. Under load, low manifold vacuum causes the valve to open for maximum air flow. |
The CJ-3A Story | CJ-3A
Photos | CJ-3A Specs and Tech Tips | CJ-3A Literature | Siblings of the CJ-3A | Accessories | Links
cj3a 7/14